- 產品概述
- 應用領域
QJ型多級高揚程大流量不銹鋼潛水泵潛水泵產品概述
QJ型井用潛水泵是從深井中提取地下水的成套機具,廣泛應用于農田灌溉、工礦企業的供排水及高原、山區的畜用水。QJR型井用熱水潛水泵,采用特殊材質和結構,用于提取地下熱水。另外本公司根據用戶需要生產海水、礦山等特殊場合用潛水泵。該潛水泵主機由QJ型潛水泵和YQS型潛水泵機組成。潛入水下工作,具有結構緊湊、體積小、重量輕、安裝、使用、維護方便,運輸安全可靠、節約能源等優點。
潛水泵使用條件
1、電源:三相交流電,電壓380伏,頻率50赫茲。
2、水源
(1)水溫 a:QJ型≤20℃ b: QJ型≤20℃
(2)水中含沙量(重量比)不得超過0.01%,氯離子不得超過400毫克/升。
(3)PH=6.5∽8.5
潛水泵技術數據
150QJ(R)10-150
150 適用小井徑150毫米:
QJ(R) 型號特征:井用潛水電泵(熱水)
10 額定流量:10立方米/小時
150/ 額定揚程:150米
潛水泵結構特點
QJ型潛水泵由多級離心式葉輪分段串聯組成。泵級間由扁拉筋或螺栓連接,每段之間由橡膠(或銅)軸承支撐,泵的頂端沒有逆止閥。YQS型潛水電機為密閉充水式三相異步電機,繞組采用耐水連續密封結構,導軸承和推力軸承均為水潤滑軸承;電機上部安裝有防砂機構,阻止泥沙進入電機內控。
成套供應范圍
1、主機:潛水泵和潛水電機。
2、管路:輸水管、彎管、橡膠墊、安裝夾板等。
3、電纜:電纜和電纜接頭材料。
4、起動和保護裝置。
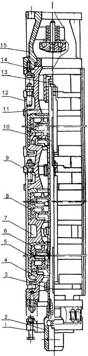
潛水泵結構圖
|
編號 |
零件名稱 |
|
|
1 |
進水節 |
|
|
2 |
聯軸器 |
|
|
3 |
鍵 |
|
|
4 |
吸入段 |
|
|
5 |
泵殼 |
|
|
6 |
導葉 |
|
|
7 |
中軸承體 |
|
|
8 |
葉輪 |
|
|
9 |
聯接段 |
|
|
10 |
泵軸 |
|
|
11 |
長軸套 |
|
|
12 |
扁拉筋 |
|
|
13 |
軸頭螺母 |
|
|
14 |
上軸承體 |
|
|
15 |
逆止閥體 |
|
編號 |
零件名稱 |
|
|
1 |
聯軸器 |
|
|
2 |
鍵 |
|
|
3 |
進水節 |
|
|
4 |
導流殼 |
|
|
5 |
泵軸 |
|
|
6 |
葉輪 |
|
|
7 |
錐形套 |
|
|
8 |
逆止閥體 |
潛水泵結構說明
1、QJ型井用潛水泵機組由:水泵、潛水電機(包括電纜)、輸水管和控制開關四大部分組成。
2、潛水泵每級導流殼中裝有一個橡膠軸承;葉輪用錐形套固定在泵軸上;導流殼采用螺紋或螺栓聯成一體。
3、高揚程潛水泵上部裝有止回閥,避免停機水垂造成機組破壞。
4、潛水電機軸上部裝有迷宮式防砂器和兩個反向裝配的骨架油封,防止流砂進入電機。
5、潛水電機采用水潤滑軸承,下部裝有橡膠調壓膜、調壓彈簧,組成調壓室,調節由于溫度引起的壓力變化;電機繞組采用聚乙稀絕緣,尼龍護套耐用消費品水電磁線,電纜聯接方式按QJ型電纜接頭工藝,把接頭絕緣脫去刮凈漆層,分別接好,焊接牢固,用生橡膠繞一層。再用防水粘膠帶纏2~3層,外面包上2~3層防水膠布或用水膠粘結包一層橡膠帶(自行車里帶)以防滲水。
6、電機密閉,采用精密止口螺栓,電纜出口加膠墊進行密封。
7、電機上端有一個注水孔,有一個放氣孔,下部有一個放水孔。
8、電機下部裝有上下止推軸承,止推軸承上有溝槽用于冷卻,和它對磨的是不銹鋼推力盤,隨水泵的上下軸向力。
潛水泵用途
QJ型井用潛水泵是電機與水泵直聯潛入水中工作的提水機具,它適用于從深井提取地下水,也可用于河流、水庫、水渠等提水工程:主要用于農田灌溉及高原山區的人畜用水,亦可供城市、工廠、鐵路、礦山、工地供排水使用。
潛水泵技術選型參數表
|
序號 |
型號 |
流量(m3/h) |
揚程(m) |
電機功率(KW) |
額定電流A |
出水管直徑 |
配套電纜規格 |
|
1 |
1OOQJ2-50/10 |
2 |
40 |
0.75 |
2.0 |
40 |
3×1.5+1×1 |
|
2 |
100QJ2-70/14 |
70 |
1.1 |
3.1 |
3×1.5+1×1 |
||
|
3 |
100QJ2-80/16 |
80 |
1.1 |
3.1 |
3×1.5+1×1 |
||
|
4 |
100QJ2-100/20 |
100 |
1.5 |
3.8 |
3×1.5+1×1 |
||
|
5 |
100QJ2-110/22 |
110 |
1.5 |
3.8 |
3×1.5+1×1 |
||
|
6 |
100QJ2-140/28 |
140 |
1.5 |
3.8 |
3×1.5+1×1 |
||
|
7 |
100QJ2-150/30 |
150 |
2.2 |
5.6 |
3×1.5+1×1 |
||
|
8 |
1OOOJ2-160/32 |
160 |
2.2 |
5.6 |
3×2.5+1×1.5 |
||
|
9 |
100QJ2-190/38 |
190 |
2.2 |
5.6 |
3×2.5+1×1.5 |
||
|
10 |
1OOOJ2-200/40 |
200 |
3.0 |
7.3 |
3×4+1×2.5 |
||
|
11 |
100QJ3.2-40/6 |
2.2 |
40 |
0.75 |
2.0 |
40 |
3×1.5+1×1 |
|
12 |
1OOOJ3.2-54/8 |
54 |
0.75 |
2.0 |
3×1.5+1×1 |
||
|
13 |
100QJ3.2.68/10 |
68 |
1.1 |
3.1 |
3×1.5+1×1 |
||
|
14 |
100QJ3.2-72/11 |
72 |
1.1 |
3.1 |
3×1.5+1×1 |
||
|
15 |
1OOQJ3.2-99/15 |
99 |
1.5 |
3.8 |
3×1.5+1×1 |
||
|
16 |
1OOQJ3.2-108/16 |
108 |
2.2 |
5.6 |
3×1.5+1×1 |
||
|
17 |
100QJ3.2-135/20 |
135 |
2.2 |
5.6 |
3×2.5+1×1.5 |
||
|
18 |
1OOQJ3.2-144/21 |
144 |
3.O |
7.3 |
3×4+1×2.5 |
||
|
19 |
100QJ3.2-170/25 |
170 |
3.0 |
7.3 |
3×4+1×2.5 |
||
|
20 |
100QJ3.2-230/34 |
230 |
4.0 |
10.26 |
3×4+1×2.5 |
||
|
21 |
100QJ5-24/6 |
5 |
24 |
0.75 |
2.0 |
40 |
3×1.5+1×1 |
|
22 |
100QJ5-36/9 |
36 |
1.1 |
3.1 |
3×1.5+1×1 |
||
|
23 |
100QJ5-48/12 |
48 |
1.5 |
3.8 |
3×1.5+1×1 |
||
|
24 |
100QJ5-64/16 |
64 |
2.2 |
5.6 |
3×1.5+1×1 |
||
|
25 |
100QJ5-72/18 |
72 |
2.2 |
5.6 |
3×1.5+1×1 |
||
|
26 |
100QJ5-88/22 |
88 |
3.0 |
7.3 |
3×2.5+1×1.5 |
||
|
27 |
100QJ5-96/24 |
96 |
3.0 |
7.3 |
3×2.5+1×1.5 |
||
|
28 |
1OOQJ5-108/27 |
108 |
3.0 |
7.3 |
3×4+1×2.5 |
||
|
29 |
100QJ5-128/32 |
128 |
4.0 |
10.26 |
3×4+1×2.5 |
||
|
30 |
100QJ5-164/41 |
164 |
5.5 |
13.74 |
3×4+1×2.5 |
||
|
31 |
100QJ5-220/55 |
220 |
7.5 |
18.5 |
3×6+1×4 |
|
序號 |
型號 |
流量(m3/h) |
揚程 |
電機功率(KW) |
額定電流(A) |
出水管直徑 |
配套電纜規格 |
|
32 |
1OOQJ8-15/3 |
8 |
15 |
0.75 |
2.0 |
50 |
3×1.5+1×1 |
|
33 |
1OOQJ8-20/4 |
20 |
1.1 |
3.1 |
3×1.5+1×1 |
||
|
34 |
1OOQJ8-30/6 |
30 |
1.5 |
3.8 |
3×1.5+1×1 |
||
|
35 |
1OOQJ8-40/8 |
40 |
99 |
5.6 |
3×1.5+1×1 |
||
|
36 |
1OOQJ8-50/10 |
50 |
3.0 |
7.3 |
3×2.5+1×1.5 |
||
|
37 |
1OOOJ8-60/12 |
60 |
3.O |
7.3 |
3×2.5+1×1.5 |
||
|
38 |
1OOQJ8-70/14 |
70 |
3.0 |
7.3 |
3×2.5+1×1.5 |
||
|
39 |
1OOQJ8-85/17 |
85 |
4.0 |
10.26 |
3×2.5+1×1.5 |
||
|
40 |
1OOQJ8-95/19 |
95 |
5.5 |
13.74 |
3×4+1×2.5 |
||
|
41 |
1OOQJ8-100/20 |
100 |
5.5 |
13.74 |
3×4+1×2.5 |
||
|
42 |
1OOQJ8-110/22 |
110 |
5.5 |
13.74 |
3×4+1×2.5 |
||
|
43 |
1OOOJ8-135/27 |
135 |
7.5 |
18.5 |
3×4+1×2.5 |
||
|
44 |
1OOQJ8-150/30 |
150 |
7.5 |
18.5 |
3×4+1×2.5 |
||
|
45 |
1OOQJ10-48/1o |
10 |
48 |
2.2 |
5.6 |
50 |
3×1.5+1×1 |
|
46 |
1OOQJ10-60/13 |
60 |
3.0 |
7.3 |
3×2.5+1×1.5 |
||
|
47 |
1OOQJ10-80/17 |
80 |
4.0 |
10.26 |
3×2.5+1×1.5 |
||
|
48 |
1OOQJ10-108/22 |
108 |
5.5 |
13.74 |
3×4+1×2.5 |
||
|
49 |
1OOQJ10-130/27 |
130 |
7.5 |
18.5 |
3×4+1×2.5 |
||
|
50 |
1OOQJ15-34/10 |
15 |
34 |
3.O |
7.3 |
50 |
3×2.5+1×1.5 |
|
51 |
100QJ15-52/14 |
52 |
4.0 |
10.26 |
3×2.5+1×1.5 |
||
|
52 |
1OOQJ15-58/18 |
58 |
5.5 |
13.74 |
3×4+1×2.5 |
||
|
53 |
1OOQJ15-82/24 |
82 |
7.5 |
18.5 |
3×4+1×2.5 |
||
|
55 |
150QJ5-85/12 |
5 |
85 |
3 |
7.9 |
50 |
3×4 |
|
56 |
150QJ5-100/14 |
100 |
3 |
7.9 |
3×4 |
||
|
57 |
150QJ5-150/21 |
150 |
4 |
10.26 |
3×4 |
||
|
58 |
150QJ5-200/28 |
200 |
5.5 |
13.74 |
3×6 |
||
|
59 |
150QJ5-250/35 |
250 |
7.5 |
18.5 |
3×6 |
||
|
60 |
150QJ5-300/42 |
300 |
9.2 |
22.12 |
3×10 |
||
|
61 |
150QJ10-50/7 |
10 |
50 |
3 |
7.9 |
3×4 |
|
|
62 |
150QJ10-78/11 |
78 |
4 |
10.26 |
3×4 |
|
序號 |
型號 |
流量(m3/h) |
揚程(m) |
電機功率(KW) |
額定電流(A) |
出水管直徑 |
配套電纜規格 |
|
63 |
150QJ10-100/14 |
10 |
100 |
5.5 |
13.74 |
50 |
3×4 |
|
64 |
150QJ10-128/18 |
128 |
7.5 |
18.5 |
3×6 |
||
|
65 |
150QJ10-150/21 |
150 |
7.5 |
18.5 |
3×6 |
||
|
66 |
150QJ10-178/25 |
178 |
9.2 |
22.12 |
3×6 |
||
|
67 |
150QJ10-200/28 |
200 |
11 |
26.28 |
3×10 |
||
|
68 |
150QJ10-250/35 |
250 |
13 |
30.87 |
3×10 |
||
|
69 |
150QJ10-300/42 |
300 |
15 |
35.62 |
3×16 |
||
|
70 |
150QJ20-26/4 |
20 |
26 |
3 |
7.9 |
3×4 |
|
|
71 |
150QJ20-33/5 |
33 |
3 |
7.9 |
3×4 |
||
|
72 |
150QJ20-39/6 |
39 |
4 |
10.26 |
3×4 |
||
|
73 |
150QJ20-46/7 |
46 |
5.5 |
13.74 |
3×4 |
||
|
74 |
150QJ20-52/8 |
52 |
5.5 |
13.74 |
3×4 |
||
|
75 |
150QJ20-59/9 |
59 |
5.5 |
13.74 |
3×4 |
||
|
76 |
150Q220-65/10 |
65 |
7.5 |
18.5 |
3×4 |
||
|
77 |
150QJ20-72/11 |
72 |
7.5 |
18.5 |
3×4 |
||
|
78 |
150QJ20-78/12 |
78 |
7.5 |
18.5 |
3×6 |
||
|
79 |
150QJ201-85/13 |
85 |
9.2 |
22.12 |
3×6 |
||
|
80 |
150QJ20-91/14 |
91 |
9.2 |
22.12 |
3×6 |
||
|
81 |
150QJ20-98/15 |
98 |
9.2 |
22.12 |
3×6 |
||
|
82 |
150QJ20-104/16 |
104 |
11 |
26.28 |
3×6 |
||
|
83 |
150QJ20-111/17 |
111 |
11 |
26.28 |
3×6 |
||
|
84 |
150QJ20-117/17 |
117 |
13 |
30.87 |
3×6 |
||
|
85 |
150QJ20-124/19 |
124 |
13 |
30.87 |
3×6 |
||
|
86 |
150QJ20-130/20 |
130 |
13 |
30.87 |
3×6 |
||
|
87 |
150QJ20-137/21 |
137 |
15 |
35.62 |
3×6 |
||
|
88 |
150QJ20-143/22 |
143 |
15 |
35.62 |
3×6 |
||
|
89 |
150QJ20-150/23 |
150 |
15 |
35.62 |
3×6 |
||
|
90 |
150QJ20-156/24 |
156 |
15 |
35.62 |
3×10 |
||
|
91 |
150Q220-163/25 |
163 |
15 |
35.62 |
3×10 |
||
|
92 |
150QJ25-24/3 |
25 |
24 |
3 |
7.9 |
65 |
3×4 |
|
93 |
150QJ25-32/4 |
32 |
4 |
10.3 |
3×4 |
|
序號 |
型號 |
流量(m3/h) |
揚程 |
電機功率(KW) |
額定電流(A) |
出水管直徑 |
配套電纜規格 |
|
94 |
150QJ25-40/5 |
25 |
40 |
5.5 |
13.7 |
65 |
3×4 |
|
95 |
150QJ25-48/6 |
48 |
5.5 |
13.7 |
3×4 |
||
|
96 |
150QJ25-56/7 |
56 |
7.5 |
18.5 |
3×4 |
||
|
97 |
150QJ25--64/8 |
64 |
7.5 |
18.5 |
3×4 |
||
|
98 |
150QJ25-72/9 |
72 |
9.2 |
18.5 |
3×6 |
||
|
99 |
1509325-80/10 |
80 |
9.2 |
22.1 |
3×6 |
||
|
100 |
150QJ25-88/11 |
88 |
11 |
26.3 |
3×6 |
||
|
101 |
150QJ25-96/12 |
96 |
11 |
26.3 |
3×6 |
||
|
102 |
150QJ25-104/13 |
104 |
13 |
30.9 |
3×6 |
||
|
103 |
150QJ25-112/14 |
112 |
13 |
30.9 |
3×6 |
||
|
104 |
150QJ25-120/15 |
120 |
15 |
35.6 |
3×6 |
||
|
105 |
150QJ25-128/16 |
128 |
15 |
35.6 |
3×6 |
||
|
106 |
150QJ25-136/17 |
136 |
18.5 |
44.0 |
3×10 |
||
|
107 |
150QJ25-144/18 |
144 |
18.5 |
44.0 |
3×10 |
||
|
108 |
150QJ25-152/19 |
152 |
18.5 |
44.0 |
3×10 |
||
|
109 |
150QJ32-18/3 |
32 |
18 |
3 |
7.9 |
65 |
3×4 |
|
110 |
150QJ32-24/4 |
24 |
4 |
10.26 |
3×4 |
||
|
111 |
150QJ32-30/5 |
30 |
5.5 |
13.74 |
3×4 |
||
|
112 |
150QJ32-36/6 |
36 |
5.5 |
13.74 |
3×4 |
||
|
113 |
150QJ32-42/7 |
42 |
7.5 |
18.5 |
3×6 |
||
|
114 |
150QJ32-54/9 |
54 |
9.2 |
22.12 |
3×6 |
||
|
115 |
150QJ32-66/11 |
66 |
11 |
26.28 |
3×6 |
||
|
116 |
150QJ32-72/12 |
72 |
13 |
30.87 |
3×6 |
||
|
117 |
150QJ32-84/14 |
84 |
13 |
30.87 |
3×6 |
||
|
118 |
150QJ32-90/15 |
90 |
15 |
35.62 |
3×6 |
||
|
119 |
150QJ32-96/16 |
96 |
15 |
35.62 |
3×6 |
||
|
120 |
150QJ32-108/18 |
108 |
18.5 |
44.0 |
3×10 |
||
|
121 |
150QJ50-6/1 |
50 |
6 |
3 |
7.9 |
80 |
3×4 |
|
122 |
150QJ50-12/2 |
12 |
4 |
10.26 |
3×4 |
||
|
123 |
150QJ50-18/3 |
18 |
5.5 |
13.74 |
3×4 |
||
|
124 |
150QJ50-24/4 |
24 |
7.5 |
18.5 |
3×6 |
||
|
125 |
150Qj50-30/5 |
30 |
9.2 |
22.12 |
3×6 |
|
序號 |
型號 |
流量(m3/h) |
揚程 |
電機功率(KW) |
額定電流(A) |
出水管直徑 |
配套電纜規格 |
|
126 |
150QJ501-36/6 |
50 |
36 |
9.2 |
22.12 |
80 |
3×6 |
|
127 |
150QJ501-42/7 |
42 |
11 |
26.28 |
3×6 |
||
|
128 |
150QJ50-48/8 |
48 |
13 |
30.87 |
3×6 |
||
|
129 |
150QJ50-54/9 |
54 |
15 |
35.62 |
3×6 |
||
|
130 |
150QJ50-60/10 |
60 |
18.5 |
44.0 |
3×6 |
||
|
131 |
150QJ50-66/11 |
66 |
18.5 |
44.0 |
3×6 |
||
|
132 |
150QJ50-72/12 |
72 |
18.5 |
44.0 |
3×10 |
|
133 |
200QJ20-40/3 |
20 |
40 |
4 |
10.1 |
50 |
3×4 |
|
134 |
200QJ20-54/4 |
54 |
5.5 |
13.6 |
3×4 |
||
|
135 |
200QJ20-67/5 |
67 |
7.5 |
18 |
3×4 |
||
|
136 |
200QJ20-81/6 |
81 |
7.5 |
18 |
3×4 |
||
|
137 |
200QJ20-93/7 |
93 |
Q9 |
21.7 |
3×6 |
||
|
138 |
200QJ20-108/8 |
108 |
11 |
25.8 |
3×6 |
||
|
139 |
200QJ20-121/9 |
121 |
13 |
29.8 |
3×6 |
|
序號 |
型號 |
流量(m3/h) |
揚程 |
電機功率(KW) |
額定電流(A) |
出水管直徑 |
配套電纜規格 |
|
140 |
2000J20-133/10 |
20 |
133 |
15 |
33.9 |
50 |
3×6 |
|
141 |
2000J20-148/11 |
148 |
15 |
33.9 |
3×6 |
||
|
142 |
2000320-175/13 |
175 |
18.5 |
41.6 |
3×10 |
||
|
143 |
2000J20-202/15 |
202 |
22 |
48.2 |
3×16 |
||
|
144 |
2000J20-243/18 |
243 |
25 |
54.5 |
65 |
3×16 |
|
|
145 |
20003201-270/20 |
270 |
30 |
65.4 |
3×25 |
||
|
146 |
2000320-297/22 |
297 |
30 |
65.4 |
3×25 |
||
|
147 |
2000J20-338/25 |
338 |
37 |
79.7 |
3×25 |
||
|
148 |
200Q320-350/26 |
350 |
37 |
79.7 |
3×35 |
||
|
149 |
2000320-363/27 |
363 |
37 |
79.7 |
3×35 |
||
|
150 |
200QJ20-400/30 |
400 |
45 |
96.9 |
3×50 |
||
|
151 |
2000J20-450/34 |
450 |
45 |
96.9 |
3×50 |
||
|
152 |
2000332-26/2 |
32 |
26 |
4 |
10.1 |
65 |
3×4 |
|
153 |
2000J32-39/3 |
39 |
5.5 |
13.6 |
3×4 |
||
|
154 |
200Q332-52/4 |
52 |
7.5 |
18 |
3×4 |
||
|
155 |
2000J32-65/5 |
65 |
11 |
25.8 |
3×6 |
||
|
156 |
2000332-78/6 |
78 |
11 |
25.8 |
3×6 |
||
|
157 |
2000J32-91/7 |
91 |
13 |
29.8 |
3×6 |
||
|
158 |
200Q3321-104/8 |
104 |
15 |
33.9 |
3×6 |
||
|
159 |
2000332-130/10 |
130 |
18.5 |
41.6 |
3×10 |
||
|
160 |
2000332-156/12 |
156 |
25 |
54.5 |
3×16 |
||
|
161 |
2000J32-195/15 |
195 |
30 |
65.4 |
3×16 |
||
|
162 |
2000J32-234/18 |
234 |
37 |
79.7 |
3×25 |
||
|
163 |
2000J32-247/19 |
247 |
37 |
79.7 |
3×25 |
||
|
164 |
200Q332-260/20 |
260 |
45 |
96.9 |
3×25 |
||
|
165 |
2000332-286/22 |
286 |
45G |
96.9 |
3×35 |
||
|
167 |
2000340-26/2 |
40 |
26 |
5.5 |
13.6 |
3×4 |
|
|
168 |
200QJ40-39/3 |
39 |
7.5 |
18 |
3×4 |
||
|
169 |
200Q340-52/4 |
52 |
q9 |
21.7 |
3×6 |
||
|
170 |
2000340-65/5 |
65 |
11 |
25.8 |
3×6 |
||
|
171 |
200Q340-78/6 |
78 |
15 |
33.9 |
3×6 |
||
|
172 |
2000J40-104/8 |
104 |
18.5 |
41.6 |
3×10 |
||
|
173 |
200Q340-117/9 |
117 |
22 |
48.2 |
3×10 |
||
|
174 |
2000340-143/11 |
143 |
25 |
54.5 |
3×10 |
|
序號 |
型號 |
流量(m3/h) |
揚程(m) |
電機功率(KW) |
額定電流(A) |
出水管直徑 |
配套電纜規格 |
|
175 |
200QJ40-169/13 |
40 |
169 |
30 |
65.4 |
65 |
3×16 |
|
176 |
200QJ40-182/14 |
182 |
37 |
79.7 |
3×16 |
||
|
177 |
200QJ40-208/16 |
208 |
37G |
79.7 |
3×25 |
||
|
178 |
200QJ40-234/18 |
234 |
45G |
96.9 |
3×25 |
||
|
179 |
200QJ40-247/19 |
247 |
45G |
96.9 |
3×35 |
||
|
180 |
200QJ50-13/1 |
50 |
13 |
4 |
10.1 |
80 |
3×4 |
|
181 |
200QJ50-26/2 |
26 |
5.5 |
13.6 |
3×4 |
||
|
182 |
200QJ50-39/3 |
39 |
9.2 |
21.7 |
3×4 |
||
|
183 |
200QJ50-52/4 |
52 |
11 |
25.8 |
3×6 |
||
|
184 |
200QJ50-65/5 |
65 |
15 |
33.9 |
3×6 |
||
|
185 |
200QJS0-78/6 |
78 |
18.5 |
41.6 |
3×6 |
||
|
186 |
200QJ50-91/7 |
91 |
22 |
48.2 |
3×10 |
||
|
187 |
200QJ50-104/8 |
104 |
25 |
54.5 |
3×10 |
||
|
188 |
200QJ50-117/9 |
117 |
30 |
65.4 |
3×10 |
||
|
189 |
200QJ50-130/1O |
130 |
30 |
65.4 |
3×16 |
||
|
190 |
200QJ50-156/12 |
156 |
37 |
79.7 |
3×16 |
||
|
191 |
200QJ50-182/14 |
182 |
45G |
96.9 |
3×25 |
||
|
192 |
200QJ50-195/15 |
195 |
45G |
96.9 |
3×25 |
||
|
193 |
200QJ63-12/1 |
63 |
12 |
4 |
10.1 |
80 |
3×4 |
|
194 |
200QJ63-24/2 |
24 |
7.5 |
18 |
3×4 |
||
|
195 |
200QJ63-36/3 |
36 |
11 |
25.8 |
3×6 |
||
|
196
|
200QJ63-48/4 |
48 |
15 |
33.9 |
3×6 |
||
|
197 |
200QJ63-60/5 |
60 |
18.5 |
41.6 |
3×10 |
||
|
198 |
200QJ63-72/6 |
72 |
99 |
48.2 |
3×10 |
||
|
199 |
200QJ63-84/7 |
84 |
9氏 |
54.5 |
3×10 |
||
|
200 |
200QJ63-96/8 |
96 |
30 |
65.4 |
3×16 |
||
|
201 |
200QJ63-108/9 |
108 |
30 |
65.4 |
3×16 |
||
|
202 |
200QJ63-120/10 |
120 |
37 |
79.7 |
3×25 |
||
|
203 |
200QJ63-144/12 |
144 |
45 |
96.9 |
3×25 |
||
|
204 |
200QJ80-11/1 |
80 |
11 |
4 |
10.1 |
100 |
3×4 |
|
205 |
200QJ80-22/1 |
22- |
7.5 |
18 |
3×4 |
||
|
206 |
200QJS0-33/3 |
33 |
11 |
25.8 |
3×6 |
||
|
207 |
200QJ80-44/4 |
44 |
15 |
33.9 |
3×6 |
||
|
208 |
200QJ80-55/5 |
55 |
18.5 |
41.6 |
3×10 |
|
序號 |
型號 |
流量(m3/h) |
揚程(m) |
電機功率(KW) |
額定電流(A) |
出水管直徑 |
配套電纜規格 |
|
209 |
200QJ80-66/6 |
80 |
66 |
22 |
48.2 |
100 |
3×10 |
|
210 |
200QJ801-77/7 |
77 |
30 |
65.4 |
3×16 |
||
|
211 |
200QJ80-88/8 |
88 |
37 |
79.7 |
3×16 |
||
|
212 |
2000J80-99/9 |
99 |
37 |
79.7 |
3×16 |
||
|
213 |
200QJ80-121/11 |
121 |
45 |
96.9 |
3×25 |
||
|
214 |
250QJ32-138/6 |
32 |
138 |
22 |
47.9 |
65 |
3×10 |
|
215 |
250QJ32-161/7 |
161 |
25 |
53.8 |
3×16 |
||
|
216 |
250QJ321-184/8 |
184 |
30 |
64.2 |
3×16 |
||
|
217 |
250QJ32-207/9 |
207 |
37 |
77.8 |
3×16 |
||
|
218 |
250QJ32-230/10 |
230 |
37 |
77.8 |
3×25 |
||
|
219 |
250QJ32-253/11 |
253 |
45 |
94.1 |
3×25 |
||
|
220 |
250QJ32-276/12 |
276 |
45 |
94.1 |
3×25 |
||
|
231 |
250QJ32-300/13 |
300 |
55G |
114.3 |
80 |
3×35 |
|
|
232 |
250QJ32-322/14 |
322 |
55G |
114.3 |
3×35 |
||
|
233 |
250QJ32-345/15 |
345 |
63G |
130.9 |
3×50 |
||
|
234 |
250QJ32-368/16 |
368 |
63G |
130.9 |
3×50 |
||
|
235 |
250QJ32-391/17 |
391 |
63G |
130.9 |
3×70 |
||
|
236 |
250QJ32-414/18 |
414 |
75G |
152.3 |
3×70 |
||
|
237 |
250QJ32-437/19 |
437 |
75G |
152.3 |
3×70 |
||
|
238 |
250QJ32-460/20 |
460 |
75G |
152.3 |
3×70 |
||
|
239 |
250QJ32-483/21 |
483 |
90G |
182.8 |
3×95 |
||
|
240 |
250QJ32-506/22 |
506 |
90G |
182.8 |
3×95 |
||
|
241 |
250QJ32-529/23 |
529 |
90G |
182.8 |
3×95 |
||
|
242 |
250QJ32-552/24 |
552 |
90G |
182.8 |
3×95 |
||
|
243 |
250QJ32-575/25 |
575 |
100G |
203.1 |
3×95 |
||
|
244 |
250QJ32-598/26 |
598 |
100G |
203.1 |
3×95 |
||
|
245 |
250QJ50-20/1 |
50 |
20 |
5.5 |
13.6 |
65 |
3×4 |
|
246 |
250QJ50-40/2 |
40 |
9.2 |
21.7 |
3×4 |
||
|
247 |
250QJ50-60/3 |
60 |
13 |
29.8 |
3×6 |
||
|
248 |
250QJ50-80/4 |
80 |
18.5 |
41.6 |
3×10 |
||
|
249 |
250QJ50-100/4 |
100 |
22 |
47.9 |
80 |
3×10 |
|
|
250 |
250QJ50-120/6 |
120 |
25 |
53.8 |
3×16 |
||
|
251 |
250QJ50-140/7 |
140 |
37 |
77.8 |
3×16 |
|
序號 |
型號 |
流量(m3/h) |
揚程(m) |
電機功率(KW) |
額定電流(A) |
出水管直徑 |
配套電纜規格 |
|
252 |
250QJ50-160/8 |
|
160 |
37 |
77.8 |
80 |
3×16 |
|
253 |
250QJ50-180/9 |
180 |
45 |
94.1 |
3×25 |
||
|
254 |
250QJ50-200/10 |
200 |
45 |
94.1 |
3×25 |
||
|
255 |
2509350-220/11 |
220 |
55G |
114.3 |
3×35 |
||
|
256 |
250QJ50-240/12 |
240 |
55G |
114.3 |
100 |
3×50 |
|
|
257 |
250QJ50-260/13 |
260 |
63G |
130.9 |
3×50 |
||
|
258 |
250QJ50-280/14 |
280 |
63G |
130.9 |
3×50 |
||
|
259 |
250QJ50-300/15 |
300 |
63G |
130.9 |
3×50 |
||
|
260 |
250QJ50-320/16 |
50 |
320 |
75G |
152.3 |
3×70 |
|
|
261 |
250Qj50-340/17 |
340 |
90G |
182.8 |
3×70 |
||
|
262 |
250QJ50-360/18 |
360 |
90G |
182.8 |
3×70 |
||
|
263 |
250QJ50-380/19 |
380 |
1OOG |
203.1 |
3×95 |
||
|
264 |
250QJ50-400/20 |
400 |
100G |
203.1 |
3×95 |
||
|
265 |
2509ff50-420/21 |
420 |
110G |
223.4 |
3×95 |
||
|
266 |
250QJ50-440/22 |
440 |
110G |
223.4 |
3×95 |
||
|
267 |
250QJ50-460/23 |
460 |
110G |
223.4 |
3×95 |
||
|
268 |
250QJ50-480/24 |
480 |
110G |
223.4 |
3-2×70 |
||
|
269 |
250QJ50-500/25 |
500 |
110G |
223.4 |
3-2×70 |
||
|
270 |
250QJ80-20/1 |
80 |
20 |
7.5 |
18 |
3×4 |
|
|
271 |
250QJ80-40/9, |
40 |
15 |
33.9 |
3×6 |
||
|
272 |
250QJ80-60/3 |
60 |
22 |
47.9 |
3×10 |
||
|
273 |
250QJ80-80/4 |
80 |
30 |
64.2 |
3×16 |
||
|
274 |
250QJ80-100/5 |
100 |
37 |
77.8 |
3×25 |
||
|
275 |
250QJ801-120/6 |
120 |
45 |
94.1 |
3×25 |
||
|
276 |
250QJ80-140/7 |
140 |
55 |
114.3 |
3×25 |
||
|
277 |
250QJ80-160/8 |
160 |
55 |
114.3 |
3×25 |
||
|
278 |
250QJ80-180/9 |
180 |
63 |
130.9 |
3×35 |
||
|
279 |
250QJ80-200/1o |
200 |
75 |
152.3 |
3×50 |
||
|
280 |
250QJ80-220/11 |
220 |
90G |
182.8 |
3×70 |
||
|
281 |
250QJ80-240/12 |
240 |
90G |
182.8 |
3×70 |
||
|
282 |
250QJ80-260/13 |
260 |
90G |
182.8 |
3×70 |
|
序號 |
型號 |
流量(m3/h) |
揚程(m) |
電機功率(KW) |
額定電流(A) |
出水管直徑 |
配套電纜規格 |
|
283 |
250QJ80-280/14 |
80 |
280 |
100G |
203.1 |
100 |
3×95 |
|
284 |
250QJ80-300/15 |
300 |
110G |
223.4 |
3×95 |
||
|
285 |
250QJ80-320/16 |
320 |
110G |
223.4 |
3×95 |
||
|
286 |
250QJ100-18/1 |
100 |
18 |
7.5 |
18 |
3×4 |
|
|
287 |
250QJ100-36/2 |
36 |
15 |
33.9 |
3×6 |
||
|
288 |
250Q5100-54/3 |
54 |
25 |
53.8 |
3×16 |
||
|
289 |
25093100-72/4 |
72 |
30 |
64.2 |
3×16 |
||
|
290 |
250QJ100-108/6 |
108 |
45 |
94.1 |
3×25 |
||
|
291 |
250QJ100-126/7 |
126 |
55 |
114.3 |
3×25 |
||
|
292 |
250QJ100-144/8 |
144 |
63 |
130.9 |
3×35 |
||
|
293 |
250QJ100-162/9 |
162 |
75 |
152.3 |
3×35 |
||
|
294 |
250QJ100-198/11 |
198 |
90G |
182.8 |
3×50 |
||
|
295 |
250QJ100-216/12 |
216 |
100G |
203.1 |
3×70 |
||
|
296 |
250QJ100-234/13 |
234 |
110G |
223.4 |
3×95 |
||
|
297 |
250QJ100-252/14 |
252 |
110G |
233.4 |
3×95 |
||
|
298 |
250QJ125-16/1 |
125 |
16 |
9.2 |
21.7 |
125 |
3×4 |
|
299 |
250QJ1251-32/2 |
32 |
18.5 |
41.6 |
3×6 |
||
|
300 |
250QJ125-48/3 |
48 |
25 |
53.8 |
3×50 |
||
|
301 |
250QJ125-64/4 |
64 |
37 |
77.8 |
3×16 |
||
|
302 |
250QJ125-80/5 |
80 |
45 |
94.1 |
3×16 |
||
|
303 |
250QJ125-96/6 |
96 |
55 |
114.3 |
3×25 |
||
|
304 |
250QJ125-112/7 |
112 |
63 |
130.9 |
3×35 |
||
|
305 |
250QJ125-128/8 |
128 |
75 |
152.3 |
3×35 |
||
|
306 |
250QJ125-144/9 |
144 |
90G |
182.8 |
3×35 |
||
|
307 |
250QJ125-160/10 |
160 |
90G |
182.8 |
3×35 |
||
|
308 |
250QJ125-176/11 |
176 |
100G |
203.1 |
3×50 |
||
|
309 |
250QJ125-192/12 |
192 |
110G |
223.4 |
3×50 |
||
|
310 |
250QJ125-208/13 |
208 |
110G |
223.4 |
3×70 |
||
|
311 |
250QJ140-15/1 |
140 |
15 |
9.2 |
21.7 |
3×6 |
|
|
312 |
250QJ140-30/2 |
30 |
18.5 |
41.6 |
3×6 |
||
|
313 |
250QJ140-45/3 |
45 |
30 |
64.2 |
3×16 |
|
序號 |
型號 |
流量(m3/h) |
揚程(m) |
電機功率(KW) |
額定電流(A) |
出水管直徑 |
配套電纜規格 |
|
314 |
250QJ140-60/4 |
140 |
60 |
37 |
77.8 |
125 |
3×16 |
|
315 |
250QJ140-75/5 |
75 |
45 |
94.1 |
3×16 |
||
|
316 |
250QJ140-90/6 |
90 |
55 |
114.3 |
3×25 |
||
|
317 |
250QJ140-105/7 |
105 |
63 |
130.9 |
3×35 |
||
|
318 |
250QJ140-120/8 |
120 |
75 |
152.3 |
3×35 |
||
|
319 |
250QJ140-150/10 |
150 |
90G |
182.8 |
3×35 |
||
|
320 |
250QJ140-165/11 |
165 |
100G |
203.1 |
3×50 |
||
|
321 |
250QJ140-180/12 |
180 |
110G |
223.4 |
3×70 |
||
|
322 |
250QJ160-15/1 |
160 |
15 |
11 |
25.8 |
3×6 |
|
|
323 |
250QJ160-30/2 |
30 |
22 |
47.9 |
3×16 |
||
|
324 |
250QJ160-45/3 |
45 |
37 |
77.8 |
3×16 |
||
|
325 |
250QJ160-60/4 |
60 |
45 |
94.1 |
3×25 |
||
|
326 |
250QJ160-75/5 |
75 |
55 |
114.3 |
3×25 |
||
|
327 |
250QJ160-90/6 |
90 |
63 |
.130.9 |
3×35 |
||
|
328 |
250QJ160-105/7 |
105 |
75 |
152.3 |
3×35 |
||
|
329 |
250QJ160-120/8 |
120 |
90 |
182.8 |
3×35 |
||
|
330 |
250QJ160-135/9 |
135 |
90G |
182.8 |
3×35 |
||
|
331 |
250QJ160-150/10 |
150 |
100G |
203.1 |
3×50 |
||
|
332 |
300QJ200-20/1 |
200 |
20 |
18.5 |
41.6 |
125 |
3×6 |
|
333 |
300QJ200-40/2 |
40 |
37 |
77.8 |
3×16 |
||
|
334 |
300QJ200-60/3 |
60 |
55 |
114.3 |
3×25 |
||
|
335 |
300QJ200-80/4 |
80 |
75 |
152.3 |
3×35 |
||
|
336 |
300QJ200-100/5 |
100 |
90G |
182.8 |
3×50 |
||
|
337 |
300QJ200-120/6 |
120 |
110G |
220.8 |
3×50 |
||
|
338 |
300QJ200-140/7 |
140 |
125G |
249.5 |
3×70 |
||
|
339 |
300QJ200-160/8 |
160 |
140G |
277.8 |
3×70 |
||
|
340 |
300QJ230-20/1 |
230 |
20 |
22 |
47.9 |
150 |
3×6 |
|
340 |
300QJ230-40/2 |
40 |
45 |
94.1 |
3×16 |
||
|
342 |
300QJ230-60/3 |
60 |
75 |
154 |
3×25 |
||
|
343 |
300QJ230-80/4 |
80 |
90G |
183.8 |
3×35 |
||
|
344 |
300QJ230-100/5 |
100 |
90G |
183.8 |
3×50 |
|
序號 |
型號 |
流量(m3/h) |
揚程(m) |
電機功率(KW) |
額定電流(A) |
出水管直徑 |
配套電纜規格 |
|
345
|
300QJ250-15/1 |
250 |
15 |
18.5 |
41.6 |
150 |
3×10 |
| 346 |
300QJ250-30/2 |
30 |
37 |
77.8 |
3×16 |
||
|
347
|
300QJ250-24/1 |
24 |
30 |
64.2 |
3×16 |
||
|
348
|
300QJ250-48/2 |
48 |
55 |
114.3 |
3×25 |
||
|
349
|
300QJ250-72/3 |
72 |
90G |
183.8 |
3×35 |
||
|
350
|
300QJ320-28/1 |
320 |
28 |
45 |
94.1 |
200 |
3×16 |
|
351
|
300QJ320-56/2 |
56 |
75 |
152.3 |
3×35 |
||
|
352
|
300QJ320-84/3 |
84 |
125G |
249.5 |
3×50 |
||
|
353
|
350QJ250-25/1 |
250 |
25 |
30 |
64.2 |
150 |
3×25 |
|
354
|
350QJ250-50/2 |
50 |
63 |
130.9 |
3×35 |
||
|
355
|
350QJ250-75/3 |
75 |
90G |
182.8 |
3×50 |
||
|
356
|
350QJ250-100/4 |
100 |
125G |
249.5 |
3×50 |
||
|
357
|
350QJ320-30/1 |
320 |
30 |
45 |
94.1 |
200 |
3×16 |
|
358
|
350QJ320-60/2 |
60 |
90G |
182.8 |
3×50 |
||
|
359
|
350QJ320-90/3 |
90 |
145 |
277.8 |
3×50 |
||
|
360
|
350QJ320-20/1 |
20 |
30 |
64.2 |
3×16 |
||
|
361
|
350QJ320-40/2 |
40 |
63 |
130.9 |
3×35 |
||
|
362
|
350QJ500-20/1 |
500 |
20 |
45 |
94.1 |
3×25 |
|
|
363
|
350QJ500-40/1 |
40 |
90G |
182.8 |
3×50 |
潛水泵安裝啟動運行:
1、QJ型深井潛水泵安裝前的檢查與準備
(1)檢查水井是否符合本泵使用條件,即井徑、垂直和井壁質量以及靜水位、動水位、涌水量和水質條件等,若不符合使用條件必須采取相應措施,否則不能將泵下井。
(2)檢查供電設備及供電線路能否保證電泵正常運行。
(3)電源電壓和頻率是否符合使用條件。
(4)熟悉安裝使用說明書,對新鉆的水井必須進行洗井,清除水中泥砂后,方能安裝QJ型潛水電泵。
(5)檢查電氣線路,控制和保護裝置是否合理安全可靠。
(6)準備好各種安裝使用工具,豎立三角架和吊鏈(或其它吊裝工具)要安全、可靠、使用方便。
2、QJ型深井潛水泵安裝
(2)仔細檢查電纜和接頭有無碰傷或損壞,發現問題及時包孔。
(3)用500伏兆歐表測定繞阻的絕緣電阻不低于l50兆歐。
(4)安裝好保護開關和起動設備,并檢查電機內水是否灌滿然后上緊注水、放氣孔螺栓,然后上好護線板、濾水網準備安裝下井。
(5)在深井泵的出水口安裝短輸水管一節,并用夾板夾住吊起落入井中,使夾板座落井臺上。
(6)再用一付夾板夾住另一節輸水管,然后吊起降下與短輸水管法蘭相聯接。升起吊鏈拆下第一付夾板,使泵管下降井中又座落在井臺上,依次反復進行安裝,下井,直到全部裝完,后一節夾板不卸將泵固定在井口上。
(7)后放上井蓋,彎管,閘閥出水管等。
(8)每次連接法蘭時要加膠墊,對正后緊固螺釘要對角線方向同時上緊,防止歪斜漏水。
(9)電纜線要固定在輸水管法蘭上凹槽內,每節都用綁繩固定好,下井過程要小心,電纜不能當吊繩使用,更不要碰傷電纜。
(10)下泵過程有卡住現象,要想法克服卡點,不能強行下泵,以免卡死。
(11)大口井等安裝泵時嚴禁人員下井。
(12)保護開關和起動設備應配有電壓、電流表、指示燈,并安裝在配電盤上,放在井臺周圍適當的位置。
3.深井泵起動
(1)用500伏兆歐表測量電機繞阻對地絕緣電阻不低于5兆歐。
(2)檢查三相電源線路,電壓是否符合規定,各種儀表、保護設備及接線正確無誤后方可合閘起動。
(3)起動后觀察電流、電壓是否符合規定范圍,運轉聲音有無異常及震動現象發生,若不正常應及時找出原因處理解決。
4、QJ型深井潛水泵試轉向
為了判明正確的電機旋轉方向,應讓泵在閉閥狀態下,按兩個方向運轉。通過調換三
相電源的任意兩相,改變旋轉方向。旋轉方向不同,壓力表的讀數也不同。壓力較高的方向
就是正確的旋轉方向。也可以在閥門打開的情況下,從流量的大小來判別旋轉方向,流量較大的方向為正確的旋轉方向。
5、QJ型深井潛水泵停機
(1)關閉開關停機,再起動須等5分鐘或更長的時間,以防電機溫升過高,停機后好切斷電源。
(2)保護開關不得停用,或用鋁絲銅絲加大保險絲的作法是錯誤的。
(3)QJ潛水泵的連續停機時間不得超過14天,否則,水中的雜質,沉淀在軸承和葉輪間隙內,甚至會堵住水泵轉軸。如果工作環境要求停機時間超過l 4天,應至少每1 4天開機一次,運轉5分鐘,以保證機組隨時開機使用。
注意事項
電纜接頭應嚴格按附圖進行:
1.QJ型深井潛水泵下井前應檢查,各部螺絲有無松動,電纜有無破口,電機是否漏水,電機軸、水泵軸轉動是否靈活無阻;
2.下井前檢查電機電阻應在1 50兆歐以上;
3.電機注水要認真防止假滿,切忌未灌滿清水即開始運行;
4.保護開關和啟動設備應按規定配齊;
5.電機運轉2500小時應進行一次大修,l500小時應進行小檢修;
6.電泵停機存放時應把電機內存水放完;
7.嚴禁不懂裝懂野蠻拆裝、修理應在本廠或定點修理廠進行;
8.禁止頻繁“開"、“停";
9.安裝電泵時謹防異物掉入井內;
10.如遇下列情況應停機檢修:
(1)電流電壓超過額定值。
(2)流量明顯減少。
(3)水泵間歇出水或響聲震動較大。
(4)保護開關頻繁跳閘。
(5)電機絕緣,電阻低于0.5兆歐。
- 上一個產品: SP不銹鋼深井潛水泵
- 下一個產品: QSP型噴泉專用泵


















